Coveni®Airtight Install System assemble various parts with concealed keel, there is almost no gap between panels. It has the advantage of fast and easy installation.

◆SYSTEM COMPONENT
|
Standard thickness: 4mm (6mm available) Standard size: 2440mm*1215mm Pattern: edge folding X001, middle keel x003 Length: 6 meter/piece (cut upon demand) |
Accessories: leveling bracket, screw, aluminum stiffener Length modulus: 2400mm (customized size available, recommend≤3500mm) Width modulus: 1180mm Minimum finished thickness: 24mm |
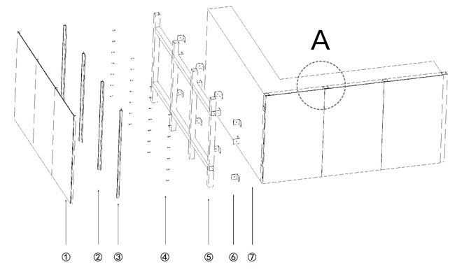
![]() ① inoc® ② Middle Keel X003 ③ Edge Folding X001 ④ Tapping Screw ⑤ Leveling Steel Frame ⑥ Bracket ⑦ Wall |
|
◆ System Accessory
Remark: if use 6mm inoc®, X110 as edge folding keel, X111 as middle keel.
|
Project: Mc Donald’s Area: interior wall Airtight install system shows good flatness and consistency, bringing comfortable atmosphere. Meanwhile, the panel is very durable. |
Project: Japan JFCR Hospital Area: interior wall The application of this system brings warm and natural experience to patients. |
|
|